来源:江苏药监局
2023年07月14日,江苏药监局发布了关于变更药品GMP符合性检查结果发布方式的公告,自2023年7月17日起,不再以药品GMP符合性检查结果公告的形式发布,企业前期以纸质材料申请的药品GMP符合性检查,检查结果以纸质告知书形式送达企业。

企业前期以纸质材料申请的药品GMP符合性检查,检查结果以纸质告知书形式送达企业。
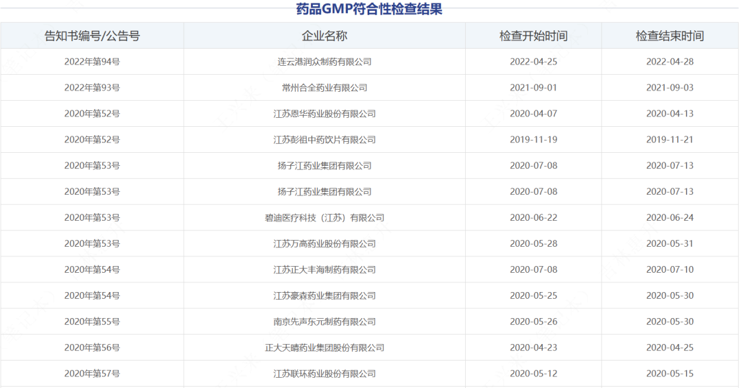
已通过药品GMP符合性检查的历史检查记录,可在我局网站“数据查询”的“药品GMP符合性检查结果”栏目进行查询。


1.“高鹏说药材”致力于提供中药行业各类资讯信息,但不保证信息的合理性、准确性和完整性,且不对因信息的不合理、不准确或遗漏导致的任何损失或损害承担责任。
2.“高鹏说药材”部分文章信息来源于网络转载是出于传递更多信息之目的,并不意味着赞同其观点或证实其内容的真实性。如对内容有疑议,请及时与我平台联系。
3.“高鹏说药材”所有信息仅供参考,不做任何商业交易及或医疗服务的根据,如自行使用“高鹏说药材”内容发生偏差,我平台不承担任何责任,包括但不限于法律责任,赔偿责任。
4.“高鹏说药材”各类带“原创”标识的资讯,享有著作权及相关知识产权,未经本网站协议授权,任何媒体、网站、个人不得转载、链接或其他方式进行发布;经本网协议授权的转载或引用,必须注明“来源:高鹏说药材(www.gpsyc.com)”。违者本网站将依法追究法律责任。
5.本声明未涉及的问题参见国家有关法律法规,当本声明与国家法律法规冲突时,以国家法律法规为准。
北京市东城区等54地入选国家中医药传承创新发展试验区
近日,国家中医药管理局印发《关于同意北京市东城区等54地建设...(769 )人阅读时间:2024-04-22【国家药典委】酸枣仁、炒酸枣仁配方颗粒国家药品标准草案(修订
4月8日,关于酸枣仁配方颗粒国家药品标准草案(修订草案)的公...(652 )人阅读时间:2024-04-08四川雅江突发森林大灾,虫草、麝香、黄芪等名贵中药材损失需待评
3月15日17时许,四川甘孜州雅江县呷拉镇白孜村发生一起森林...(941 )人阅读时间:2024-03-18全国人大代表于东霞:推进中医药全产业链发展 让道地药材更“地
中医药是我国独特的卫生资源、潜力巨大的经济资源、具有原创优势...(614 )人阅读时间:2024-03-05